0.6m 23-80G(2ft) 超高性能低抛物面双频天线
21.20 – 23.60G 71.0 – 86.0G
WTC06-212DOZT3A-710DOZT
双频天线可以支持两个频段同时工作,互不干扰,在实际组网中,根据ODU/FO的不同连接方式,可分为直接卡扣式安装和分体式安装两种。将ODU/FO直接卡扣安装到天线称为直接卡扣天线,将ODU/FO通过软波导连接到天线称为分离天线。根据天线极化的不同,可分为单极化和双极化。
常规性能
产品概述
天线口径, m (ft) | 0.6 (2) |
极化方式 | 单极化, 垂直极化或水平极化 |
天线颜色 | 浅灰 |
天线罩颜色 | 浅灰 |
天线罩材料 | 防紫外线聚苯乙烯 |
包装方式 | 纸箱 |
是否符合RoHS | 符合 |
电气性能
电气性能
天线型号 | WTC06-212DOZT3A-710DOZT | |
频段 (GHz) | 21.20 – 23.60 | 71.0 – 86.0 |
天线接口 | 153IEC-R220 | 153IEC-R740* |
增益 (dBi), 低 | 39 | 49.5 |
增益 (dBi), 中 | 39.5 | 50.0 |
增益 (dBi), 高 | 40 | 50.5 |
半功率角 (°) | 1.4 | 0.4 |
回波损耗 | 14.0 | 14.0 |
驻波比 | 1.5 | 1.5 |
前后比,(dB) | 63 | 67 |
交叉极化鉴别率(dB) | 30 | 30 |
ETSI 标准 | R3, C3 | R7, C3 |
机械性能
机械性能
工作风速, km/h | 200 |
极限风速, km/h | 250 |
方位粗调, (°) | 360 |
方位微调, (°) | ±15 |
俯仰预置, (°) | ±10 |
俯仰微调, (°) | ±15 |
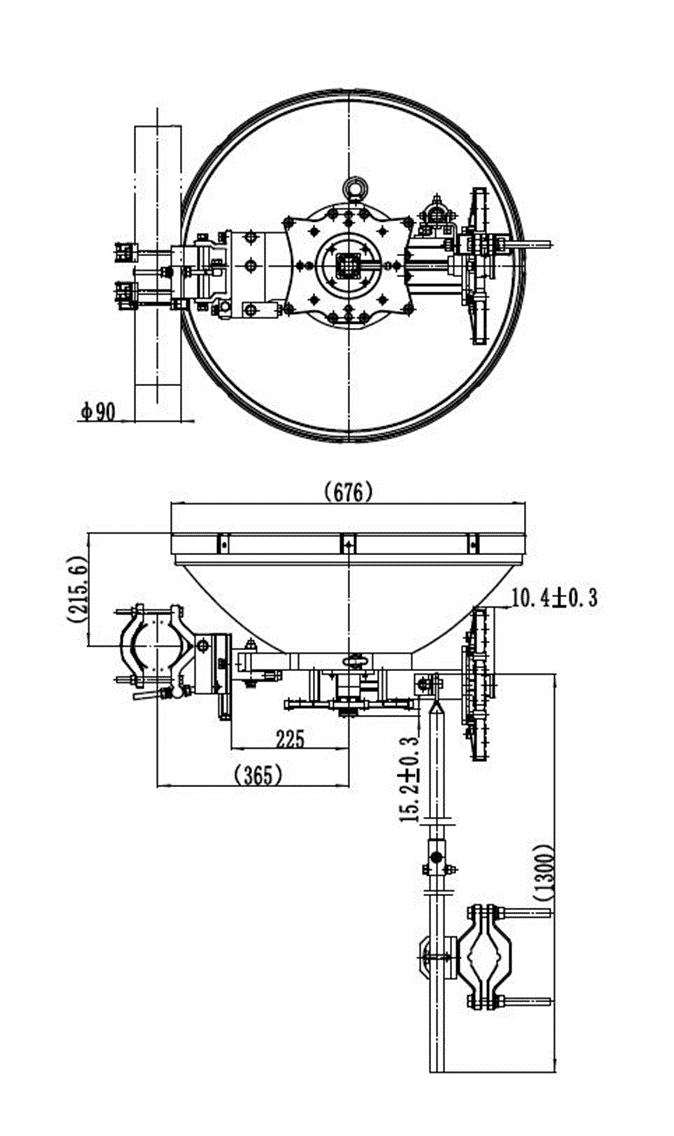
抱杆直径, mm | f51 ~ f114 |
馈源密封性 | Watertight |
工作压力, KPa | 50 |
工作温度, °C | -45 ~ +65 |
储存温度, °C | -50 ~ +70 |
覆冰厚度, mm | 25 |
标配加强杆数量 | 1 |
增配加强杆数量 | NA |
净重, kg | 18.75±1 |
毛重, kg | 23.5±2 |
包装长度, mm | 750 |
包装宽度, mm | 750 |
包装高度, mm | 580 |
包装体积, m³ | 0.45 |
外形尺寸

风荷参数
风荷参数
规定的轴向力、侧向力和扭矩为极限风速250km/h时天线铁塔承受的最大负载。每个参数均为各种风向下最大受力情况的结果,几个最大值不会同时达到。设计天线安装抱杆时需考虑所有的受力情况。

轴向力(FA), N | 1370 |
侧向力(FS), N | 670 |
扭力矩(MT), N•m | 530 |
最大扭矩角度,(°) | -10 |